Мы используем cookie для наилучшего представления нашего сайта. Подробнее об этом в Политике конфиденциальности.
Ок

Димитровград

Ваш город:
Димитровград (Ульяновская область)?
Нет
Да
Каталог
Каталог Написать в WhatsApp
Мотоэкипировка

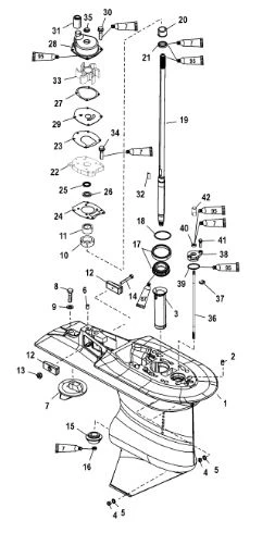
Корпус редуктора (приводной вал) (Передаточное число 2,33:1) 4-Х ТАКТНОГО ПЛМ MERCURY 100 Серийный номер от 1B227000 до 1B366822

Корпус редуктора (приводной вал) (Передаточное число 2,33:1) 4-Х ТАКТНОГО ПЛМ MERCURY 100 Серийный номер от 1B227000 до 1B366822 в Самаре: актуальный каталог, цены, фото, описание. Купите корпус редуктора (приводной вал) (передаточное число 2,33:1) 4-х тактного плм mercury 100 серийный номер от 1b227000 до 1b366822 в кредит – оформите заявку онлайн за 1 минуту!

Оригинальные запчасти

Артикул НАИМЕНОВАНИЕ Кол-во деталей в узле Примечание Наличие Цена Аналоги Фото
1 888845T03 GEAR HOUSING ASSEMBLY, Complete (4.25 Inch/107.95 MM Torpedo Diameter)

Под заказ

1

Под заказ

уточнить

Купить
2 888845T04 GEAR HOUSING ASSEMBLY, Complete (4.25 Inch/107.95 MM Torpedo Diameter)

Под заказ

1

Под заказ

уточнить

Купить
3 888845T Корпус редуктора (GEAR HSG BASIC)

Под заказ

1

Под заказ

уточнить

Купить
4 8M0084244 Штифт (PIN - DOWEL)

Под заказ

1

Под заказ

уточнить

Купить
5 43046 трубка (TUBE, Oiler)

Под заказ

1

Под заказ

уточнить

Купить
6 79953Q04 Болт дренажный 0.375-16х0.25 (SCREW KIT @2)

Под заказ

3

Под заказ

уточнить

Купить
7 191833 Прокладка дренажного болта редуктора F80

Под заказ

3

Под заказ

уточнить

Купить
8 43044 Штифт (PIN, Dowel - Without Hole (.375 x .625))

Под заказ

1

Под заказ

уточнить

Купить
9 31640T07 Тример цинковый (TRIM TAB)

Под заказ

1

Под заказ

уточнить

Купить
10 825427 Болт (SCREW)

Под заказ

1

Под заказ

уточнить

Купить
11 451761 Шайба (WASHER)

Под заказ

1

Под заказ

уточнить

Купить
12 43040T1 Подшипник игольчатый (CARRIER ASSY)

Под заказ

1

Под заказ

уточнить

Купить
13 826134Q Цинковая защитная пластина (ANODE @3)

Под заказ

2

Под заказ

уточнить

Купить
14 401386 Гайка (NUT-M6 HEX, NYL I)

Под заказ

1

Под заказ

уточнить

Купить
15 4000333 Болт (SCREW)

Под заказ

1

Под заказ

уточнить

Купить
16 35921 Гайка

Под заказ

1

Под заказ

уточнить

Купить
17 883047A1 Подшипник конусный (BEARING ASSY )

Под заказ

1

Под заказ

уточнить

Купить
18 44492A1 Регулировочные кольца (shim set)

Под заказ

1

Под заказ

уточнить

Купить
19 858765T1 *Вал приводной (DRIVESHAFT)

Под заказ

1

Под заказ

уточнить

Купить
20 878575T1 DRIVESHAFT ASSEMBLY

Под заказ

1

Под заказ

уточнить

Купить
21 42461A1 Пластиковое кольцо (SLEEVE/RING KIT)

Под заказ

1

Под заказ

уточнить

Купить
22 43055A4 WATER PUMP BASE ASSEMBLY, Aluminum Cover

Под заказ

1

Под заказ

уточнить

Купить
23 430331 Прокладка (GASKET)

Под заказ

1

Под заказ

уточнить

Купить
24 430472 Прокладка (GASKET)

Под заказ

1

Под заказ

уточнить

Купить
25 43036 Сальник (SEAL)

Под заказ

1

Под заказ

уточнить

Купить
26 43035 Сальник (SEAL)

Под заказ

1

Под заказ

уточнить

Купить
27 8172771 Прокладка (GASKET-WATER PUMP)

Под заказ

1

Под заказ

уточнить

Купить
28 817275A2 Ремкомплект помпы (HOUSING-W/P UPPER)

Под заказ

1

Под заказ

уточнить

Купить
29 8172761 Зеркало помпы - шайба плоская стальная

Под заказ

1

Под заказ

уточнить

Купить
30 430232 Сальник (SEAL)

Под заказ

1

Под заказ

уточнить

Купить
31 8M0032833 Шпонка (KEY)

Под заказ

1

Под заказ

уточнить

Купить
32 43026Q02 Крыльчатка помпы Mercruiser alpha one gen ii MERCURY IMPELLER

Под заказ

1

Под заказ

уточнить

3 050

Купить
33 82684425 SCREW, (M6 x 25)

Под заказ

6

Под заказ

уточнить

Купить
34 861415 Прокладка помпы (FACE SEAL)

Под заказ

1

Под заказ

уточнить

Купить
35 884563A00 Тяга переключения передач (SHIFT SHAFT-LONG)

Под заказ

1

Под заказ

уточнить

Купить
36 884565A00 SHIFT SHAFT ASSEMBLY

Под заказ

1

Под заказ

уточнить

Купить
37 29641 Шплинт (E RING @2)

Под заказ

1

Под заказ

уточнить

Купить
38 43052A4 Втулка (BUSHING ASSEMBLY)

Под заказ

1

Под заказ

уточнить

Купить
39 457101 Уплотнительное кольцо (O RING @5)

Под заказ

1

Под заказ

уточнить

Купить
40 8164641 Сальник (SEAL)

Под заказ

1

Под заказ

уточнить

Купить
41 891637 Втулка (BUSHING)

Под заказ

1

Под заказ

уточнить

Купить
42 43035A4 Набор сальников (SEAL KIT)

Под заказ

1

Под заказ

уточнить

Купить
43 43024A7 Ремонтный комплект (REPAIR KIT, Water Pump)

Под заказ

1

Под заказ

уточнить

Купить
44 882813A3 Шестерня переднего хода (GEAR KIT-FORWARD)

Под заказ

1

Под заказ

уточнить

Купить
45 803496T2 Подшипники (SEAL AND BEARING KIT W/O Fwd Bearing)

Под заказ

1

Под заказ

уточнить

Купить

Нулевая цена не означает отсутствие товара. Оформите заказ, и менеджер сообщит вам цену и наличие товара, предварительно запросив их у поставщика

Главная Магазины
Корзина0
Профиль