Каталог
Каталог Написать в WhatsApp
Мотоэкипировка

Корпус шестерни(приводной вал-2.33:1)(Serial #1C033810 и ниже) 4-Х ТАКТНОГО ПЛМ MERCURY 60 Серийный номер от 1C000001 до 1C050251

Корпус шестерни(приводной вал-2.33:1)(Serial #1C033810 и ниже) 4-Х ТАКТНОГО ПЛМ MERCURY 60 Серийный номер от 1C000001 до 1C050251 в Самаре: актуальный каталог, цены, фото, описание. Купите корпус шестерни(приводной вал-2.33:1)(serial #1c033810 и ниже) 4-х тактного плм mercury 60 серийный номер от 1c000001 до 1c050251 в кредит – оформите заявку онлайн за 1 минуту!

Оригинальные запчасти

Артикул НАИМЕНОВАНИЕ Кол-во деталей в узле Примечание Наличие Цена Аналоги Фото
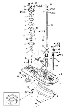
1 9011G90 Редуктор BF(GEAR HOUSING ASSY, Complete 4.25 Inch)

Под заказ

1

Под заказ

уточнить

Купить
2 9011G59 Корпус редуктора (GEAR HOUSING ASSEMBLY, Basic)

Под заказ

1

Под заказ

уточнить

Купить
3 8M0084244 Штифт (PIN - DOWEL)

Под заказ

1

Под заказ

уточнить

Купить
4 43046 трубка (TUBE, Oiler)

Под заказ

1

Под заказ

уточнить

Купить
5 79953Q04 Болт дренажный 0.375-16х0.25 (SCREW KIT @2)

Под заказ

3

Под заказ

уточнить

Купить
6 830749 Сальник (SEAL)

Под заказ

3

Под заказ

уточнить

Купить
7 43044 Штифт (PIN, Dowel - Without Hole (.375 x .625))

Под заказ

1

Под заказ

уточнить

Купить
8 31640T07 Тример цинковый (TRIM TAB)

Под заказ

1

Под заказ

уточнить

Купить
9 825427 Болт (SCREW)

Под заказ

1

Под заказ

уточнить

Купить
10 451761 Шайба (WASHER)

Под заказ

1

Под заказ

уточнить

Купить
11 43040T1 Подшипник игольчатый (CARRIER ASSY)

Под заказ

1

Под заказ

уточнить

Купить
12 826134Q Цинковая защитная пластина (ANODE @3)

Под заказ

2

Под заказ

уточнить

Купить
13 401386 Гайка (NUT-M6 HEX, NYL I)

Под заказ

1

Под заказ

уточнить

Купить
14 4000333 Болт (SCREW)

Под заказ

1

Под заказ

уточнить

Купить
15 35921 Гайка

Под заказ

1

Под заказ

уточнить

Купить
16 850307 Кулачок передачи (CAM-SHIFT CONTROL)

Под заказ

1

Под заказ

уточнить

Купить
17 883047A1 Подшипник конусный (BEARING ASSY )

Под заказ

1

Под заказ

уточнить

Купить
18 44492A1 Регулировочные кольца (shim set)

Под заказ

1

Под заказ

уточнить

Купить
19 859105A1 Ведущий вал (DRIVESHAFT ASSEMBLY)

Под заказ

1

Под заказ

уточнить

Купить
20 42461A1 Пластиковое кольцо (SLEEVE/RING KIT)

Под заказ

1

Под заказ

уточнить

Купить
21 43055A4 WATER PUMP BASE ASSEMBLY, Aluminum Cover

Под заказ

1

Под заказ

уточнить

Купить
22 430331 Прокладка (GASKET)

Под заказ

1

Под заказ

уточнить

Купить
23 430472 Прокладка (GASKET)

Под заказ

1

Под заказ

уточнить

Купить
24 43036 Сальник (SEAL)

Под заказ

1

Под заказ

уточнить

Купить
25 43035 Сальник (SEAL)

Под заказ

1

Под заказ

уточнить

Купить
26 8172771 Прокладка (GASKET-WATER PUMP)

Под заказ

1

Под заказ

уточнить

Купить
27 817275A2 Ремкомплект помпы (HOUSING-W/P UPPER)

Под заказ

1

Под заказ

уточнить

Купить
28 8172761 Зеркало помпы - шайба плоская стальная

Под заказ

1

Под заказ

уточнить

Купить
29 8M0109700 Сцепка (COUPLER)

Под заказ

1

Под заказ

уточнить

Купить
30 8M0032833 Шпонка (KEY)

Под заказ

1

Под заказ

уточнить

Купить
31 43026Q02 Крыльчатка помпы Mercruiser alpha one gen ii MERCURY IMPELLER

Под заказ

1

Под заказ

уточнить

3 050

Купить
32 82684425 SCREW, (M6 x 25)

Под заказ

6

Под заказ

уточнить

Купить
33 853906A1 Вал переключения передач "L"(SHAFT ASSEMBLY Shift)

Под заказ

1

Под заказ

уточнить

Купить
34 29641 Шплинт (E RING @2)

Под заказ

1

Под заказ

уточнить

Купить
35 43052A4 Втулка (BUSHING ASSEMBLY)

Под заказ

1

Под заказ

уточнить

Купить
36 457101 Уплотнительное кольцо (O RING @5)

Под заказ

1

Под заказ

уточнить

Купить
37 8164641 Сальник (SEAL)

Под заказ

1

Под заказ

уточнить

Купить
38 861415 Прокладка помпы (FACE SEAL)

Под заказ

1

Под заказ

уточнить

Купить
39 43035A05 Сальник (SEAL KIT, Gear Housing)

Под заказ

1

Под заказ

уточнить

Купить
40 43024A09 Рем. комплект помпы (REPAIR KIT, Water Pump)

Под заказ

1

Под заказ

уточнить

Купить
41 8M0100526 Рем. набор помпы (REPAIR KIT - IMP)

Под заказ

1

Под заказ

уточнить

Купить

Нулевая цена не означает отсутствие товара. Оформите заказ, и менеджер сообщит вам цену и наличие товара, предварительно запросив их у поставщика

Главная Магазины
Корзина0
Профиль